-
Couldn't load subscription status.
- Fork 8.9k
parallel task survey
Seata Saga 状态机执行目前只支持串行化,因此本次 PR 是主要是通过 Fork 和 Join 两种状态来实现状态机的并行能力。其中,Fork代表并行分支的开始,Join代表并行分支的结束。
- [KR1] 执行方式兼容:需要保证扩展的新任务支持已有的执行方式:同步、异步、循环、并行。
- [KR2] 合理补偿:需要保证扩展的新任务可以被合理的补偿。
- [KR3] 幂等性:由于有重试机制,需要保证任务调用时的幂等性。
- [KR4] 单测覆盖:对扩展的新任务进行功能测试的全覆盖。
{
"Comment": "Parallel Example.",
"StartAt": "LookupCustomerInfo",
"States": {
"LookupCustomerInfo": {
"Type": "Parallel",
"End": true,
"Branches": [
{
"StartAt": "LookupAddress",
"States": {
"LookupAddress": {
"Type": "Task",
"Resource":
"arn:aws:lambda:us-east-1:123456789012:function:AddressFinder",
"End": true
}
}
},
{
"StartAt": "LookupPhone",
"States": {
"LookupPhone": {
"Type": "Task",
"Resource":
"arn:aws:lambda:us-east-1:123456789012:function:PhoneFinder",
"End": true
}
}
}
]
}
}
}AWS Step Function 对于并行任务使用 Type 为 Parallel 的状态来实现,使用 Branches 属性来定义多个分支,分支内允许多个状态执行,并且通过 End 标签来表示分支是否结束。AWS Step Function 使用一个大状态把分支涵盖在内,逻辑边界清晰。但其不支持并行任务之后再执行别的状态。
Spring Statemachine
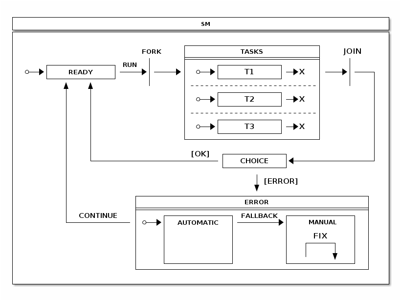
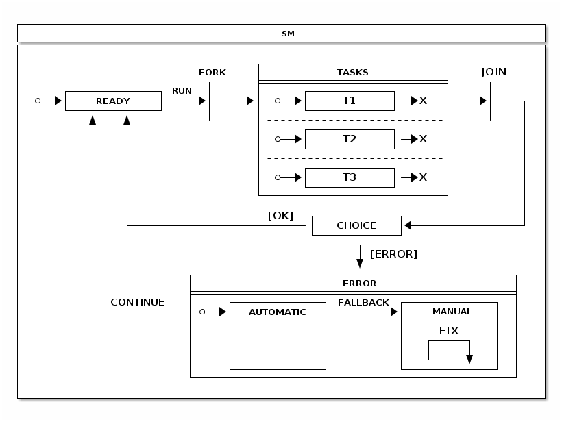
例如定义如下状态机1,其演示并行任务处理并添加了错误处理以自动或手动修复任务问题,然后继续返回到可以再次运行任务的状态:

@Override
public void configure(StateMachineStateConfigurer<States, Events> states)
throws Exception {
states
.withStates()
.initial(States.READY)
.fork(States.FORK)
.state(States.TASKS)
.join(States.JOIN)
.choice(States.CHOICE)
.state(States.ERROR)
.and()
.withStates()
.parent(States.TASKS)
.initial(States.T1)
.end(States.T1E)
.and()
// ... 篇幅有限
}
Spring Statemachine 中对于并行分支的执行则是通过 fork 和 join 两个状态来实现,fork 代表生成分支,join 代表合并分支。这种格式对比并行任务的优点在于既支持并行分支的嵌套,又支持了在所有并行分支完成后再进行下一步的功能。
因此本次 PR 是主要是通过 Fork 和 Join 两种状态来实现状态机的并行能力,兼顾了上述两个相关工作的优点。其中,Fork代表并行分支的开始,Join代表并行分支的结束。 Fork 状态采用类似于 AWS Step Function 的设定,使用 Branches 来定义并行分支,但是不把子状态包含在内,而是写上分支的第一个元素即可。
"Fork": {
"Type": "Fork",
"Branches": [
"SecondState", // First state name in one branch
"ThirdState"
],
"Parallel": 0, // limit on parallelism,0 stands for no limit
"Timeout": 60000 // waiting time in milliseconds
},最后所有并行分支都要指向 Join 状态来表示合并,而 Join 状态可以定义 Next 来确定下一步执行的状态。