Skip to content

EruDev/eru_manager

Repository files navigation

ERU-Manager version 1.0(Beta) CMDB 管理系统

项目原地址: https://github.com/vimiix/vmx_manager, 已经过 @vimiix 同意才传的 github, 只是在原基础上加了一些东西, 改了一些东西

系统介绍

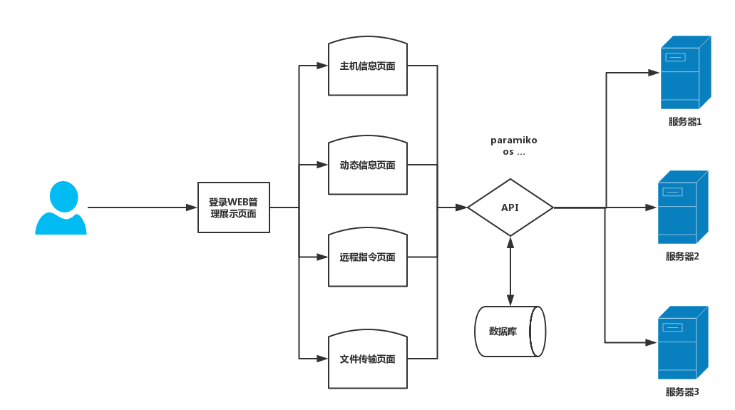
ERU-Manager 是一个基于 Django 框架开发的一款 CMDB 管理系统, 目前处于 beta 版本, 功能主要包含: 管理系统管理的客户主机列表, 动态显示客户机状态信息, 远程指令操作指定客户机, 主机与客户机之间的文件传输以及完善的后台管理系统。

功能描述:

  1. 云主机的信息统计
  2. 数据的动态展示
  3. 远程指令控制
  4. 文件传输
  5. 后台管理系统

开发环境

  • win10
  • Python3.6
  • paramiko2.4.1
  • xadmin0.6.1
  • sqlite3

整体架构

使用说明及展示

注: 本次使用说明基于本地IP端口, 直接访问 http://127.0.0.1:8000 即可

开启系统

第一种方法:

  • 命令行切换到项目的根目录下 /eru_manager 下, 执行命令 python manage.py runserver 0.0.0.0:8000, 这里让系统启动并设置 IP 为 0.0.0.0 目的是可以让客户端访问。

第二种方法:

  • 直接把本项目导入到 PyCharm 中运行即可

管理员注册

新人访问系统, 首先需要注册一个账号, 注册地址 http://127.0.0.1:8000/manager/register

登录

注册成功以后, 会自动跳转到登录页面, 用刚才注册的账号登录即可。

若不想登录, 直接用此账号登录即可:

  • admin
  • 123456

进入首页, 可以看到本系统的基本介绍和功能选择界面

自登录进来以后, 会自动保存管理员信息在本地 cookie 中, 有效期为 1小时, 也就是说1小时以后, 系统要求管理员重新登录, 否则自动退出

下面一次介绍每个功能

主机列表

在这个页面中, 展示了目前已经在管理的客户主机信息, 其中包含 主机的IP, 自定义名称, 操作系统, CPU型号, 以及 最近的一次重启时间.

在这个页面, 管理员可以直接操作删除目前管理的客户主机, 将不再对其监控。 也可以添加一个新的主机进来, 点击新增按钮, 跳转至添加页面, 将要添加的主机IP, 可以把管理员信息填进去, 系统会自动去读取管理的主机相关信息, 并保存到数据库, 添加成功

动态信息

这个页面作为一个信息动态的展示, 因为要想显示更多的信息, 只是在脚本中, 去多读取一些信息, 发送回来, 分图表去展示, 这里目前只收集一个客户机发送上来的 CPU 信息用来做例子展示。

这个页面想要看到数据的动态变化, 需要将本项目中的 send_data.py 文件运行, 配置好服务器的IP(比如我win10的ip地址是192.168.76.42), 并使用一会要说到的第四个文件分发的功能将这个文件, 下发到客户机上去运行起来。 这样就能看到这个页面对应客户主机的动态信息啦。

远程指令

在这个页面有两个功能:

  1. 给指定远程主机发出指令, 并执行获取结果
  2. 查看最近执行成功的 6 条指令

发送指令

下面的例子中, 我向我的阿里云主机发送了一条 ls /home/zhaopf/erublog, 查看我的用户目录下的erublog 项目下的文件信息, 右边的黑色框中会显示收到的信息。 若链接主机失败, 会在右侧的显示框, 提示链接不成功。

发送指令历史

点击 发送历史 按钮, 会在右侧框中显示历史记录, 格式为 发送时间>>发送指令>>远程主机ip

文件传输

这个页面同样也有两个功能:

  1. 向服务器上传文件
  2. 向指定的 IP 远程主机, 分发文件

成功则在页面提示发送成功, 失败则提示发送失败

具体使用请参考下面图片:

上传文件

上传成功以后, 会保存在项目根目录下的 upload 中。

分发文件

我们到 172.31.236.106这个IP的主机中去看一下, 文件是否发送成功?

从上图可以看出, 主机IP 172.31.236.106 成功接收到了我们刚从 win10 发送的 requirements.txt 文件

后台管理系统

xadmin是django的第三方扩展, 可使django的admin站点使用更方便

安装

通过如下命令安装 xadmin 的最新版:

pip install https://github.com/sshwsfc/xadmin/tarball/master

在配置文件中注册如下应用:

INSTALLED_APPS = [
    ...
    'xadmin',
    'crispy_forms',
    'reversion',
    ...
]

xadmin 有建立自己的数据库模型类, 需要进行数据库迁移:

python manage.py makemigrations
python manage.py migrate

在总路由中添加xadmin的路由信息

import xadmin

urlpatterns = [
    # url(r'^admin/', admin.site.urls),
    url(r'xadmin/', include(xadmin.site.urls)),
    ...
]

使用

  • xadmin不再使用 django的admin.py, 而是需要编写代码在adminx.py 文件中。
  • xadmin的站点管理类不再继承admin.ModelAdmin, 而是直接继承 object 即可

manager 应用下创建adminx.py 文件

下面我只简单的说下关于xadmin的一些配置, 具体可以参考github上的链接: https://github.com/sshwsfc/xadmin

class BaseSetting(object):
    """xadmin基本配置"""
    enable_themes = True # 开启主题切换功能
    use_bootswatch = True


xadmin.site.register(views.BaseAdminView, BaseSetting)


class GlobalSettings(object):
    """xadmin的全局配置"""
    site_title = 'Eru-Manager'  # 设置站点标题
    site_footer = 'Eru-Manager' # 设置站点的页脚
    menu_style = 'accordion' # 设置菜单折叠


xadmin.site.register(views.CommAdminView, GlobalSettings)


class HostAdmin(object):
    model_icon = 'fa fa-list'  # 显示图标
    list_display = ['id', 'host_name', 'os', 'cpu', 'last_login_time', 'is_delete']  # 需要显示的主机信息
    search_fields = ['id', 'host_name']  # 搜索需要用到的字段
    list_editable = ['host_name', 'is_delete'] # 可编辑的主机字典
    show_bookmarks = True  # 是否启用书签
    list_export = ['xls', 'csv', 'xml']  # 能导出的类型xls, csv, xml

xadmin.site.register(models.HostInfo, HostAdmin)

About

eru-manager是一个基于Django框架开发的一款远程主机管理系统

Resources

License

Stars

Watchers

Forks

Releases

No releases published

Packages

No packages published

Contributors 2

  •  
  •